《科创板日报》3月20日讯(记者 黄修眉) 近日,一纸诉状,让才通过港交所聆讯的上海傅里叶半导体股份有限公司(下称:“傅里叶半导体”)成为市场关注焦点。
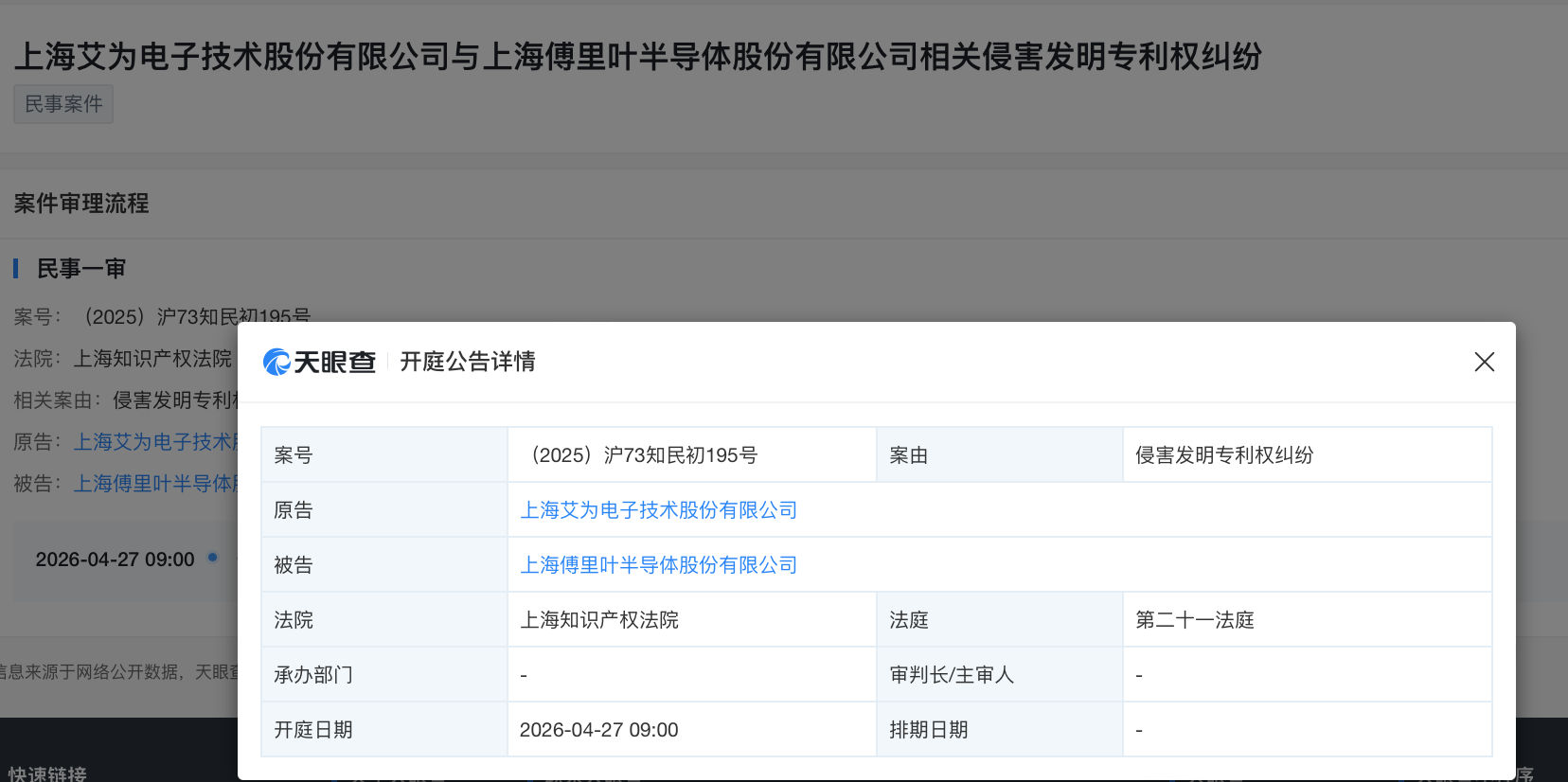
就在傅里叶半导体通过港交所聆讯的次日(小K注:即今年3月16日,傅里叶半导体于今年3月15日通过港交所聆讯),同行艾为电子一纸诉状将其告上法庭,案由是“侵害发明专利权”,开庭时间定在2026年4月27日早上9点;傅里叶半导体为民事一审被告。

而这起诉讼之所以备受市场关注,一方面因其时间恰逢傅里叶半导体通过港交所聆讯,市场关注相关诉讼是否会影响该公司港股上市进程和后续估值;另一方面,艾为电子2025年诉聚芯微的类似案件中,其发明专利获司法支持,西安市中级人民法院一审判决聚芯微侵权成立。
在此背景下,傅里叶半导体能否顺利冲击“AI音频芯片第一股”?
冲击港股遇“狙击” 发明专利引发知识产权纠纷
根据公开信息,傅里叶半导体成立于2016年,是一家采用无晶圆厂(Fabless)模式的芯片设计公司,专注于智能音频及触觉反馈芯片的研发与销售。
其研发了国内首款集成ASIC DSP的便携式功放音频芯片、首款中大功率音频芯片以及首款通过车规级AEC-Q100认证的功放音频芯片。
该公司供货三星、小米、vivo、荣耀等主流手机品牌,已切入比亚迪、长安、奇瑞等汽车品牌,以及海信、TCL、创维等智能家居厂商的供应链。
提起诉讼的艾为电子,则其是国内领先的模拟芯片设计企业,2021年科创板上市,是A股音频芯片细分赛道的龙头。
回溯傅里叶半导体此次港股IPO上市进程,由国泰君安国际和东方证券国际担任联席保荐人。
该公司于2026年3月13日获得证监会境外发行上市备案通知书,获准发行不超过3833.33万股境外上市普通股,41名股东将合计9889.88万股境内未上市股份转为境外上市股份。仅两天后(即:今年3月15日),傅里叶半导体便通过港股聆讯。
公开信息显示,根据港交所相关规则,拟上市公司通过聆讯后需在招股书中充分披露可能对公司产生重大不利影响的未决诉讼。
“从律师和港股IPO实操角度看,艾为电子这次起诉的时间点,刚好卡在傅里叶半导体港交所聆讯次日,开庭又撞上路演、簿记、定价最关键的窗口期,这是典型的IPO关键节点知识产权‘狙击’。”上海律协青工委委员、上海市海华永泰律师事务所高级合伙人孙宇昊在接受《科创板日报》记者采访时表示。
“它对傅里叶半导体的港股IPO进程,会产生非常直接的、实质性的影响。”孙宇昊进一步分析表示:
一是公司路演和定价节奏或被打乱。聆讯后是公司冲刺发行的黄金时间,被起诉专利侵权后,基石投资者、机构资金可能会暂停、甚至重新尽调,从而影响本已基本确定的估值、发行价、认购数量等;
二是上市进程可能被迫延迟,甚至暂缓、撤回。根据港交所要求,聆讯后公司出现重大不利变化,必须立刻补充披露,严重的还要补充聆讯、重新审核,相当于上市节奏被卡住;
三是动摇企业的上市逻辑。芯片企业的上市支撑逻辑是技术独立、自主可控、持续经营等,若是核心产品被诉专利侵权,会让市场,特别是港股市场有着大量国际投资者,质疑其产品存侵权风险,投资者信心会直接受冲击。
此外,孙宇昊认为,港交所的监管非常明确:只要涉及核心产品、核心营收的未决专利诉讼,一律认定为重大事项,必须全面披露;企业招股书里必须写清楚:涉诉专利、涉案产品、营收占比、有没有可能被禁售、可能赔偿,及律师出具法律意见。
同时,公司通过聆讯后新出现的重大诉讼,监管要求更高:发行人、保荐人必须第一时间向港交所报告,更新招股书、发布补充公告,必须保证投资者在定价前获得完整风险信息。
此外,港交所还会重点追问:诉讼会否影响持续经营,公司技术有无瑕疵,信息披露是否真实、完整,一旦监管认定风险过大,亦可以要求暂缓上市。
九轮融资“输血” 产业资本加码
根据弗若斯特沙利文的报告,按2024年收益计算,傅里叶半导体在全球功放音频芯片供应商中排名第四,在中国供应商中排名第三;若按出货量计算,其在中国功放音频芯片供应商中排名第二,在用于智慧屏的该品类芯片中出货量更是位居中国第一。
但目前出货量已位居全国乃至全球前列的傅里叶半导体却仍未盈利,且持续亏损。
根据其招股书,2022年度至2024年度及2025年前三季度,傅里叶半导体分别实现营收1.3亿元、1.5亿元、3.6亿元、2.8亿元;上述同一时期,其分别亏损6.59亿元、9.4亿元、5.68亿元、4.69亿元、5.18亿元。

其中,根据2025年前三季度财务数据,计入存货减值亏损后,该公司低功率音频芯片营收贡献占比达90%,单一产品依赖度高。
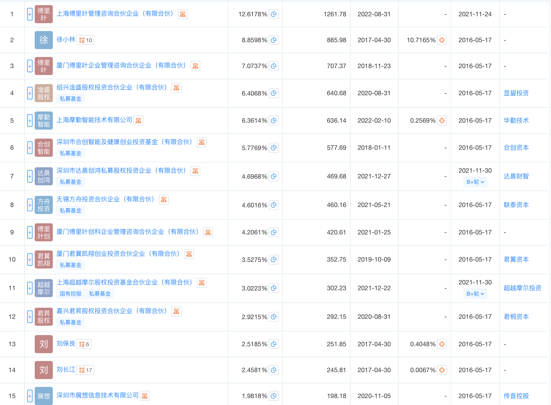
持续投入的背后是持续的融资。工商信息显示,截至目前,傅里叶半导体已进行九轮融资。

该公司背后的产业资本股东包括华勤技术、传音控股、闻天下(闻泰集团关联方)、龙旗科技、小米旗下顺为资本等。

(图:傅里叶半导体前十五名股东)
从2018年天使轮到2023年D轮共9轮融资中,其阵容豪华的参投方包括达晨财智、合创资本、君联资本、高瓴创投、红杉中国、深创投,国家集成电路产业投资基金旗下的超越摩尔基金等顶级投资机构。
公开报道显示,傅里叶半导体预计上市前融资总额高达6.71亿元。最新D轮融资的投后估值约27.75亿元。
上海律协青工委委员、上海市海华永泰律师事务所高级合伙人孙宇昊分析认为,“未盈利的芯片公司,港股估值主要以市销率P/S定价;傅里叶半导体的特殊情况是,其低功率音频芯片收入占营收比例达90%,因此一旦涉案专利覆盖核心产品,其败诉的后果或将直接动摇其估值逻辑,甚至可能会影响上市进程或结果。”

