1.最佳理财投资标的? 中国深圳华强北存储器产品3个月涨一倍 收益超过黄金
2.自研IP驱动性能跃升,高云半导体塑造国产FPGA新格局
3.机构:欧洲芯片市场Q3销售额增至141亿美元,存储及模拟芯片领涨
4.NOR Flash涨价!普冉股份并购协同扩展2D NAND溢价
5.大基金拟转让硅数股份14.31%股权,交易底价为8.44亿元
6.格罗方德取得台积电GaN技术授权 瞄准数据中心、工业与汽车市场
7.美国BIS宣布暂停出口管制50%穿透规则一年,将艾睿(中国)移出实体清单
1.最佳理财投资标的? 中国深圳华强北存储器产品3个月涨一倍 收益超过黄金
中国深圳华强北电子市场近日掀起罕见价格风暴,固态硬盘(SSD)、DDR4等内存产品在3个月内价格普遍翻涨一倍,涨幅超越水贝黄金市场,被部分消费者及商家称为年度最佳理财产品。
华强北商家周日热度堪比黄金卖场,商家在受访时感慨「一天一价、有价无货」,几乎所有内存产品都在疯涨。 以 Sandisk 容量 1TB SSD 为例,3 个月前零售价约 300 元(人民币,下同),如今猛涨至 588 元,中国国产金百捷同款产品从 260 元涨至 415 元,三星 1TB SSD 更飙至 1020 元,2TB 版本达 1450 元且多处断货。
部分小商家店内柜上仅摆空盒,需临时调货,有商家坦言不敢囤货,怕跌,但这3个月比黄金涨得还快。
DDR4同样疯涨,三星16GDDR4从今年9月200元涨至410-420元,去年仅百元,国产品牌博睿16G款也从200元涨至460元。 三星代理厂商解释,源头厂商产能被AI所需的DDR5等高端产品排挤,旧制程DDR4供应受限,去年几十元的产品,现在成硬通货。
涨价潮仍蔓延至行动硬盘、随身碟,Sandisk 1TB行动硬盘现价690元,128G USB涨至72元,涨幅均约三分之一。
此轮行情源自 AI 算力需求爆发。 全球内存巨头三星、SK 海力士正将产能转向HBM与DDR5,原厂持续削减成熟制程产能,供需失衡推高价格。
业界人士指出,涨价非消费端驱动,而是 AI 服务器对 HBM、DDR5 的「吞噬式需求」重构结构,「异常上涨存风险,涨势料将持续至明年第一季,并维持在高档」。
A 股内存族群股价更因此周期红利表现抢眼。 模组厂借库存策略成受益主力。 江波龙今年前三季度净利润7.13亿元,三季度单季暴增1994.42%至6.98亿元,存货攀升至85.17亿元; 佰维存储上半年亏损2.26亿元,第三季度净利润2.56亿元,同比增长563.77%,存货增至56.95亿元。
内存渠道代理商香农芯创、技术领先的澜起科技亦跟涨。 今年迄今,香农芯创涨498.59%,江波龙223.47%,佰维储存103.57%,澜起科技93.26%。
尽管当前囤货即赚,但后续产能释放可能出现受需求而波动的情形,价格回调压力不可小觑。(来源: 钜亨网)
2.自研IP驱动性能跃升,高云半导体塑造国产FPGA新格局

2025年,FPGA步入问世40周年的关键节点。这一里程碑不仅象征着技术的成熟,更预示着新的征程:FPGA正以其无可替代的灵活性与并行效能,承载起连接智能计算前沿与广泛落地应用的新使命,为各产业智能化升级提供核心动力。
市场研究机构Mordor Intelligence预计,在数据中心与人工智能(AI)计算、汽车、航空航天等行业的驱动下,FPGA市场规模在2025年达到100.8亿美元,预计到2030年将扩大至162.3亿美元,复合年均增长率(CAGR)为10.0%。国内市场方面,Gartner预计2025年中国的FPGA市场将占到全球市场的68%。
国产化替代浪潮下,FPGA正是当前国内半导体产业突破“卡脖子”的关键环节。广东高云半导体科技股份有限公司(以下简称“高云半导体”)凭借多年来在可编程逻辑领域的深厚积累与持续创新,构建了从核心IP、自主架构到全场景生态的技术体系,成为中国FPGA领域最具代表性的力量之一。
自主IP突破,高速互联接口引领行业标准
MIPI是面向移动应用处理器的开放标准与规范体系,根据应用领域不同,MIPI主要包括用于摄像头采集的CSI-1/CSI-2、用于显示的DSI-1/DSI-2,以及物理层传输的D-PHY(DPHY)、C-PHY(CPHY)和A-PHY等标准。物理层传输方面,相较于已被广泛采用的DPHY,后起的CPHY凭借更高的信号编码效率与带宽利用率,在高速图像传输及高分辨率视频等带宽敏感场景中展现出明显优势,正逐步成为新一代高速接口的主流选择。
顺应这一技术演进趋势,高云半导体在国内率先实现了MIPI CPHY接口及IP的自主研发与量产。其业内首发的MIPI CPHY解决方案——晨熙V(Arora-V)系列FPGA集成了2.5Gsps MIPI CPHY硬核,总带宽高达17.1Gbps,为更高带宽的传输提供了完整方案。该系列产品在显著提升带宽与传输速率的同时,实现了低功耗与高抗干扰能力的理想平衡,为高清视频处理、车载影像、工业视觉、消费电子等应用提供了灵活而高效的接口解决方案。
小规模FPGA集成高速SerDes,突破性能瓶颈的创新架构
在传统设计理念中,高速SerDes(Serializer/Deserializer)接口通常只应用于中高密度或高端FPGA产品中。高云半导体凭借灵敏的市场洞察力与持续的自主创新精神,通过自研架构与高性能SerDes IP的深度集成,成功在小规模FPGA中实现高速SerDes集成,颠覆了传统FPGA设计理念。
高云半导体自研的SerDes接口速率可达12.5Gbps,可灵活支持多种高速传输协议,如DP、eDP、SDI、HDMI、SLVS-EC、USB3.0、USB3.1、USB3.2、SGMII等,满足通信、视频处理、边缘计算、工业控制等多领域需求。这一创新架构不仅显著提升了小规模FPGA在高速信号链中的应用能力,也使其在系统设计中兼顾了高带宽、低延迟与低功耗的综合性能。
凭借这一突破,高云半导体FPGA在小封装产品中具备了差异化竞争力,为客户在通信前端模块、边缘AI节点、工业视频采集、信号加速处理等新兴应用场景中提供了更灵活、更具性价比的方案。该创新实现了小规模FPGA在性能与能效上的“双跃升”,重新定义了国产FPGA在高速互联时代的应用边界。
高性价比与低功耗平衡,实现国产FPGA全场景覆盖
在智能终端、工业控制、AI边缘计算等多元化应用快速发展的今天,市场对芯片的功耗、封装尺寸及性价比提出了更高要求。高云半导体紧抓这一趋势,推出多款兼具“小封装、低功耗、高性能”的FPGA产品,实现了性能与能效的理想平衡。
高云半导体FPGA采用优化的逻辑架构与先进制程工艺,在同等逻辑密度下具备更低的静态功耗和更高的能效表现。例如,小蜜蜂GW1NZ系列FPGA的静态功耗低至28µW,在“Always-On”低功耗应用中表现出领先优势。与此同时,高云半导体通过高集成度设计,在紧凑封装内实现丰富的逻辑资源与高速接口,为系统设计提供了更高的灵活性和空间利用率,特别适合消费电子、可穿戴设备、边缘AI节点等功耗敏感场景。
此外,高云半导体构建了从产品设计、产品制造、封装测试到配套器件的全国产化供应链体系,确保产品的交付稳定性与成本竞争力。这不仅缩短了项目交付周期,也帮助客户在复杂供应环境中保持方案灵活性与长期可持续性。
凭借灵活的架构设计与丰富的IP资源库,高云半导体FPGA可轻松协同主流MCU、SoC,成为多系统融合的“核心协处理器”。无论是在高清视频处理与工业视觉领域中的高速MIPI与SerDes应用,还是通信与边缘计算中的实时数据交互,高云半导体FPGA都以高性价比方案灵活满足多元需求,展现出国产FPGA的创新实力与广泛应用潜力。
率先布局智能汽车赛道,打造高可靠车规级FPGA
智能汽车已成为FPGA应用中最具潜力的增长引擎。高云半导体是国内最早介入车规级FPGA领域的企业之一,自2019年布局汽车市场,至今已超过6年。其晨熙、小蜜蜂、晨熙V系列均覆盖车规芯片,出货累计超过600万颗(截至2025年7月底),车规产品失效率控制在个位数PPM(百万分率)。
高云半导体车规级FPGA覆盖从中低密度到高密度的多个系列,广泛应用于动力控制、仪表显示、激光雷达、娱乐等领域。其车规产品均通过AEC-Q100认证,并进入多家主流新能源整车厂供应链,出货量稳居国产FPGA行业前列。凭借高可靠性设计与严格管控,高云半导体FPGA产品获得了众多整车厂的认可与背书。
同时,高云半导体积极推动车规级FPGA在主力汽车应用中的国产化落地,并持续强化与整车厂、Tier1方案商及IC厂商的深度协作,共同建设开放、可持续的车载FPGA应用生态体系,为智能汽车的创新应用提供可靠支撑与系统级解决方案。
随着汽车“电动化+智能化”趋势加速,车规级FPGA的需求预计将持续快速增长。高云半导体正以领先的产品矩阵与验证体系,稳步构建国产FPGA在汽车领域的核心竞争壁垒,为汽车产业发展提供强有力的技术支撑。
写在最后
面对全球FPGA市场的快速演进,高云半导体始终坚持“自主创新、开放合作”的技术战略,以自主研发为驱动核心,持续强化IP积累与架构创新。展望未来,高云半导体将继续加大在高性能、高带宽FPGA方向的研发投入,推动国产FPGA在AI计算、汽车、工业互联等关键领域的规模化应用。同时,公司将与生态伙伴共同打造更开放、更高效的国产FPGA应用生态,助力中国半导体产业实现自主可控与持续创新。
3.机构:欧洲芯片市场Q3销售额增至141亿美元,存储及模拟芯片领涨
根据欧洲半导体行业协会(ESIA)最新发布的数据,2025年第三季度,欧洲半导体市场继续扩张,销售额达到140.7亿美元,较上一季度增长7.2%,同比去年增长6%。
最新的增长表明关键芯片类别和市场持续保持增长势头,这些类别和市场直接影响着汽车、工业和通信应用领域的供应链。
欧洲市场增长的最大动力来自存储芯片,其季度环比增长高达17.3%,紧随其后的是模拟半导体,增长7.1%。这两类芯片在汽车电子和工业系统中扮演重要角色,而这些领域正是欧洲公司占据强势地位的领域。
这些数据来源于世界半导体贸易统计(WSTS)报告。报告还显示,在全球范围内,2025年第三季度半导体市场总额达到2084亿美元。所有地区均实现增长,但增速各异:美洲地区以22.2%的季度环比增长领先,亚太地区增长19.2%,中国增长10.2%,欧洲则以7.2%的增幅紧随其后。同比去年,全球半导体行业显著增长了25.1%。
从应用领域来看,全球芯片销售额较2025年第二季度增长了14.3%。有线通信芯片增幅最大,达到23.3%,无线通信和计算机及外围设备分别增长16.2%和14.7%。
ESIA强调,半导体技术仍然是欧洲经济竞争力的核心,支撑着约20万个直接就业岗位,并在关键行业的创新中发挥着重要作用。
4.NOR Flash涨价!普冉股份并购协同扩展2D NAND溢价
DRAM涨完,NAND涨,NAND涨完,NOR Flash涨,且NOR Flash本轮涨价以10%起跳,目前部分料号一个月不到价格涨幅超30%,存储产品涨价已全面铺开。
近期,A股NOR Flash厂商以兆易创新、普冉股份、恒烁股份等核心玩家开始涨价,全系产品涨价幅度以10%起跳,部分像32Mb/64Mb/128Mb等涨价幅度更高,不少客户纷纷接到涨价通知函。
“因近期上游原材料上涨,晶圆厂和封装测试厂的成本随之上调,导致我司成本上浮。为了保证供应稳定,贵我双方需要共同承担成本压力,即日起我司产品价格需要上调10%,我们将持续关注上游成本状态,最大努力服务好客户。”
如上涨价通知函,正是上述某家NOR Flash厂商所发。那么作为NOR Flash赛道的核心玩家,同时兼具并购向NAND模组领域扩张的普冉股份成色如何?

需求和供给改善,Q4洽谈新价格
近日,普冉股份发布2025年三季报,前三季度公司营业收入为14.3亿元,同比上升4.9%;归母净利润为5905万元,同比下降73.7%;扣非归母净利润为3708万元,同比下降83.7%。
第三季度,普冉股份实现营业收入5.27亿元,环比增长5.24%;实现归属于上市公司股东的净利润0.18亿元,同比下降79.4%;扣非归母净利润为1043万元,同比下降86.3%。
可以看到,普冉股份Q3经营数据有所好转,但因为由于前期部分未及时消化的库存影响拖累,普冉股份此前半年度计提减值准备7175万元,转回/转销减值准备4382万元,减少公司报表利润总额2793万元;三季度公司计提减值准备4979万元,转回/转销减值准备1887万元,减少公司报表利润总额3093万元。
如今,进入Q4,受益于NOR Flash开始涨价,普冉股份原本受拖累的库存影响反而会转变为优势。
普冉股份表示,本轮NOR Flash涨价主要为供需关系双向的驱动,需求层面,随着各类AI终端的不断兴起,AI功能对于NOR Flash 的平均容量和数量均有一定量提升;此外,随着下游库存持续改善,在后半年传统旺季的缓和催化下,需求整体持续好转。供给层面,随着半导体周期上行,NOR Flash产能受到一定程度挤压,供给收紧,同时晶圆代工厂也将一定程度给下游设计原厂提价以保证盈利水平。综上,供给和需求关系趋势紧张,同时公司也将持续将上游涨价传导,引领了本轮涨价趋势。
据了解,普冉股份NOR Flash产品采用先进SONOS和ETOX技术,容量覆盖512kbit-1Gbit,适配TWS耳机、车载导航、手机触控等场景。以代表产品PY25Q129HA为例,该产品是一款基于50nmETOX工艺打造的超低功耗128Mbit串行多I/ONORFlash,电压覆盖2.7V-3.6V,专为在各种不同系统中使用而设计,支持读取、编程和擦除操作,支持X1/X2/X4多I/O,以及QPI/DTR接口协议,数据保持20年、擦写10万次。
普冉股份也表示,公司在第四季度正与下游客户就NOR Flash存储芯片价格变化进行洽谈,部分产品价格相较三季度已有所改善,行业整体需求出现边际回暖迹象。
专注2D NAND,并购协同提升竞争力
在强化内生增长动力的同时,普冉股份亦通过外延并购积极布局。普冉股份此前公告,公司拟以现金方式收购参股公司珠海诺亚长天存储技术有限公司(简称“诺亚长天”)控股权。若完成本次交易,普冉股份预计将实现对诺亚长天的控股,并间接控股其全资子公司、注册于中国香港的半导体企业SkyHigh Memory Limited。
SkyHigh是一家由赛普拉斯和海力士联合组建的公司,专注于中高端高性能2D NAND及衍生存储器(包括SLC NAND、eMMC、MCP)产品与解决方案的半导体公司,核心能力覆盖固件算法开发、存储芯片测试、集成封装设计及产品定制。该公司在韩国和日本设有工程中心,并在亚洲、欧洲及北美等地布局销售网络,具备直接面向市场独立运营的能力,全球客户基础稳固,产品广泛应用于工控、安防、可穿戴及智能终端等领域。
据行业人士透露,去年Skyhigh营收超过10亿元,公司产品正从密集的中小容量NAND市场向Large NAND市场拓展,打开更大市场空间,同时背靠SK海力士,未来增长空间很大。
在客户层面,普冉股份原本以境内客户为主,这与Skyhigh客户结构可形成互补,加速双方“走出去”和“引进来”步伐,提升全球市场竞争力。
普冉股份也表示,公司拟收购标的SkyHigh的核心产品线包括高性能2D Nand及衍生存储器:SLC Nand,适用于对数据存储稳定性和安全性要求较高的场景,如工业控制、汽车电子等领域;eMMC,基于MLC Nand与微控制器集成的模组,具有体积小、接口简单、数据传输速度较快等优势,常用于智能手机、平板电脑、可穿戴设备等智能终端产品中;MCP,多芯片封装,基于LPDDR与SLC Nand封装的模组,实现多种存储功能的集成,能够满足不同应用场景对存储容量和性能的多样化需求,可应用于智能家电、安防监控等领域。
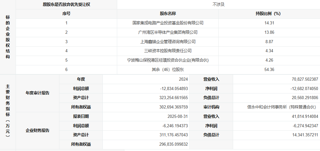
5.大基金拟转让硅数股份14.31%股权,交易底价为8.44亿元

11月7日,上海产权交易中心披露,国家集成电路产业投资基金股份有限公司(简称“大基金”)挂牌转让硅谷数模(苏州)半导体股份有限公司(简称“硅数股份”)5150.771万股股份,转让数量占硅数股份总股本的14.31%,转让底价为84415.43万元。

根据披露数据,硅数股份注册资本3.6亿元,经营范围包括:集成电路设计;集成电路芯片设计及服务;集成电路芯片及产品销售;集成电路芯片及产品制造;知识产权服务;专业设计服务;半导体器件专用设备销售;半导体器件专用设备制造;计算机软硬件及辅助设备零售;通讯设备销售;电子产品销售;软件开发;信息技术咨询服务;技术服务、技术开发、技术咨询、技术交流、技术转让、技术推广;计算机软硬件及辅助设备批发。
资料显示,硅数股份致力于高性能数模混合芯片的设计与销售,已完成在高速SerDes技术、数模混合电路设计技术、高清显示技术、协议转换技术等多个领域的深厚技术积累,在行业最领先的DP2.0、eDP1.5、USB4协议领域形成技术壁垒,并在中屏OLED显示主控芯片领域处于先发优势,产品覆盖面已经涵盖全球个人电脑、汽车电子、AR/VR 可穿戴设备等多个领域。
其前五大股东分别为大基金(持股比例为:14.31%)、广州湾区半导体产业集团有限公司(持股比例为:13.86%)、上海鑫锚企业管理咨询有限公司(持股比例为:8.87%)、三峡资本控股有限责任公司(持股比例为:4.34%)、宁波梅山保税港区经瑱投资合伙企业(有限合伙)(持股比例为:4.26%),其余46位股东合计持有54.36股权。

2024年硅数股份实现营收7.08亿元,净利润为-1.27亿元,总负债为2.06亿元;2025年前8个月,公司营收为4.18亿元,净利润为-6274.94万元,总负债为1.43亿元,职工人数为287人。
6.格罗方德取得台积电GaN技术授权 瞄准数据中心、工业与汽车市场
格罗方德(GlobalFoundries) 周一(10 日) 宣布,已与台积电签署技术授权协议,取得650V 与80V 氮化镓(GaN) 制程技术,此举将协助格罗方德加速推出新一代GaN 电源元件,应用于数据中心、工业及汽车领域,并提供位于美国境内的GaN 产能,服务全球客户。
随着硅基CMOS 技术逐渐逼近效能极限,GaN 被视为满足高效率、高功率密度、小型化需求的关键。
格罗方德正布局完整GaN 产品线,涵盖650V 与80V 高效能制程,可支持电动车、数据中心、再生能源及快充等应用。
格罗方德表示,其GaN 解决方案针对高压环境设计,强调从制程、元件到应用整合的全方位可靠性。
格罗方德计划在旗下位于美国佛蒙特州伯灵顿的晶圆厂导入并认证台积电GaN 技术,借重当地在高压GaN-on-Silicon 技术上的经验,缩短量产时程。开发将于2026 年初展开,并预计当年底投入生产。
格罗方德电力事业资深副总裁Téa Williams 表示,技术授权显示公司致力于创新与差异化电源技术,GaN 导入将加速相关芯片开发,协助解决数据中心、汽车与工业场域等多项关键电力需求。
格罗方德为全球半导体制造企业,产品涵盖汽车、智能手机、物联网及通讯基础设施等市场,于美国、欧洲与亚洲设有生产据点,强调供应安全性、可靠度与永续性。(来源: 钜亨网)
7.美国BIS宣布暂停出口管制50%穿透规则一年,将艾睿(中国)移出实体清单
当地时间11月10日,美国商务部工业与安全局(BIS)发布了两项最终规则,一是决定将其在2025年9月30日发布的“扩大最终用户管制以涵盖某些所列实体的关联方实体”(Affiliates Rule)规则(简称“出口管制50%穿透性规则”)暂停实施一年,二是决定将艾睿(中国)电子贸易有限公司/Arrow China Electronics Trading Co., Ltd.和艾睿电子(香港)有限公司/Arrow Electronics (Hong Kong) Co., Ltd.的六个别名从实体清单中移除。
公告指出,BIS对关联企业规则实施为期一年的暂停。该规则将分两个阶段实施。第一阶段自2025年11月10日起生效,至2026年11月9日结束,为期一年暂停关联企业规则。在第二阶段,自2026年11月10日起继续生效并无限期延长,除非未来另有延期更改,第一阶段移除的关联企业规则中的修改将重新纳入《出口管制条例》。
此外,BIS宣布将艾睿电子(Arrow Electronics)旗下的Arrow China Electronics Trading Co., Ltd.(艾睿(中国)电子贸易有限公司)以及香港六家关联公司从实体清单移除,六家关联公司为:
Arrow/Components Agent Limited;
Components Agent Limited;
Components Agents Limited;
Arrow Electronics;
Arrow Asia Pac Ltd;
Arrow Asia Pacific Limited.
在公告正式发布前,BIS已向艾睿电子致信,授权其恢复与中国关联公司的全部正常交易,该临时许可有效期至2026年2月14日或公告正式生效之日。这一操作显示监管方在正式公告前就已认可撤销决定,以避免企业运营受到进一步影响。

